更新时间:2021-06-11 15:13:03 来源:动力节点 浏览3006次
FastDFS是余庆老师开发的一个开源的高性能分布式文件系统(DFS)。它的主要功能包括:文件存储,文件同步和文件访问,以及高容量和负载平衡。
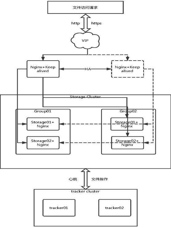
FastDFS系统有三个角色:跟踪服务器(Tracker Server)、存储服务器(Storage Server)和客户端(Client)。
Tracker Server:跟踪服务器,主要做调度工作,起到均衡的作用;负责管理所有的storage server和group,每个storage在启动后会连接Tracker,告知自己所属group等信息,并保持周期性心跳。多个Tracker之间是对等关系,不存在单点故障。
Storage Server:存储服务器,主要提供容量和备份服务;以group为单位,每个group内可以有多台storage server,组内的storage server上的数据互为备份。
Client:客户端,上传下载数据的服务器
模块之间的主要关系如下:

下图是实现统一的对外下载访问入口的高可用架构,其中所有的Nginx只做下载用途,上传通过tracker进行上传。

二、环境准备工作
系统软件说明:
| 名称 | 说明 |
| CentOS | 7.x(安装系统) |
| libfastcommon | FastDFS分离出的一些公用函数包 |
| FastDFS | FastDFS本体 |
| fastdfs-nginx-module | FastDFS和nginx的关联模块,解决组内同步延迟问题 |
| nginx | nginx 1.12.2(CentOS 7 下YUM可以安装的最新版本) |
整个搭建所需环境资源及用途如下表:
| 名称 | IP地址 | 应用 |
| tracker01 | 192.168.0.1 | FastDFS,libfastcommon |
| tracker02 | 192.168.0.2 | FastDFS,libfastcommon |
| storage01 | 192.168.0.10 | FastDFS,libfastcommon,nginx,fastdfs-nginx-module |
| storage02 | 192.168.0.11 | FastDFS,libfastcommon,nginx,fastdfs-nginx-module |
| nginx01 | 192.168.0.100 | nginx,keepalived |
| nginx02 | 192.168.0.101 | nginx,keepalived |
| VIP | 192.168.0.200 | - |
1、编译环境准备
| 说明 | 位置 |
| 所有安装包 | /opt/fastdfs |
| 数据存储位置 | /data/fastdfs |
$ tar -zxvf libfastcommon-1.0.39.tar.gz
#安装编译环境
$ yum groups install Development Tools -y
$ yum install perl -y
$ mkdir -p /opt/fastdfs /data/fastdfs
$ cd /opt/fastdfs #为下一步下载源码做准备
2、安装libfastcommon
#下载文件
$ wget https://github.com/happyfish100/libfastcommon/archive/V1.0.39.tar.gz
$ tar -zxvf libfastcommon-1.0.39.tar.gz
$ cd libfastcommon-1.0.39/
$ ./make.sh
$ ./make.sh install
$ wget https://github.com/happyfish100/fastdfs/archive/V5.11.tar.gz
$ tar -zxvf fastdfs-5.11.tar.gz
$ cd fastdfs-5.11/
$ ./make.sh
$ ./make.sh install
#配置文件准备
$ cp /etc/fdfs/tracker.conf.sample /etc/fdfs/tracker.conf #tracker节点
$ cp /etc/fdfs/storage.conf.sample /etc/fdfs/storage.conf #storage节点
$ cp /etc/fdfs/client.conf.sample /etc/fdfs/client.conf #客户端文件,测试用
$ cp /opt/fastdfs/fastdfs-5.11/conf/http.conf /etc/fdfs/ #供nginx访问使用
$ cp /opt/fastdfs/fastdfs-5.11/conf/mime.types /etc/fdfs/ #供nginx访问使用
$ vim /etc/fdfs/tracker.conf
#需要修改的内容如下
port=22122 # tracker服务器端口(默认22122,一般不修改)
base_path=/data/fastdfs # 存储日志和数据的根目录
#编辑启动文件
$ vim /usr/lib/systemd/system/fastdfs-tracker.service
[Unit]
Description=The FastDFS File server
After=network.target remote-fs.target nss-lookup.target
[Service]
Type=forking
ExecStart=/usr/bin/fdfs_trackerd /etc/fdfs/tracker.conf start
ExecStop=/usr/bin/fdfs_trackerd /etc/fdfs/tracker.conf stop
ExecRestart=/usr/bin/fdfs_trackerd /etc/fdfs/tracker.conf restart
[Install]
WantedBy=multi-user.target
$ systemctl daemon-reload
$ systemctl enable fastdfs-tracker.service
$ systemctl start fastdfs-tracker.service
$ netstat -tulnp #查看服务是否启动,端口是否打开
storage server配置
$ vim /etc/fdfs/storage.conf
#需要修改的内容如下
port=23000 # storage服务端口(默认23000,一般不修改)
base_path=/data/fastdfs # 数据和日志文件存储根目录
store_path0=/data/fastdfs # 第一个存储目录
tracker_server=192.168.0.1:22122 # tracker服务器IP和端口
tracker_server=192.168.0.2:22122 # tracker服务器IP和端口
http.server_port=8888 # http访问文件的端口(默认8888,看情况修改,和nginx中保持一致)
#编辑启动文件
$ vim /usr/lib/systemd/system/fastdfs-storage.service
[Unit]
Description=The FastDFS File server
After=network.target remote-fs.target nss-lookup.target
[Service]
Type=forking
ExecStart=/usr/bin/fdfs_storaged /etc/fdfs/storage.conf start
ExecStop=/usr/bin/fdfs_storaged /etc/fdfs/storage.conf stop
ExecRestart=/usr/bin/fdfs_storaged /etc/fdfs/storage.conf restart
[Install]
WantedBy=multi-user.target
$ systemctl daemon-reload
$ systemctl enable fastdfs-storage.service
$ systemctl start fastdfs-storage.service
$ netstat -tulnp #查看服务是否启动,端口是否打开
#查看集群状态
$ fdfs_monitor /etc/fdfs/storage.conf list
[2018-11-06 00:00:00] DEBUG - base_path=/data/fastdfs/storage, connect_timeout=30, network_timeout=60, tracker_server_count=2, anti_steal_token=0, anti_steal_secret_key length=0, use_connection_pool=0, g_connection_pool_max_idle_time=3600s, use_storage_id=0, storage server id count: 0
server_count=2, server_index=0
tracker server is 192.168.0.1:22122
group count: 1
Group 1:
...
$ vim /etc/fdfs/client.conf
#需要修改的内容如下
base_path=/data/fastdfs
tracker_server=192.168.0.1:22122 # tracker服务器IP和端口
tracker_server=192.168.0.2:22122 # tracker服务器IP和端口
#保存后测试,返回ID表示成功 如:group1/M00/00/00/xx.tar.gz
$ fdfs_upload_file /etc/fdfs/client.conf testfile
以上就是动力节点小编介绍的"FastDFS高可用集群架构配置搭建",希望对大家有帮助,如有疑问,请在线咨询,有专业老师随时为您服务。
Java实验班
0基础 0学费 15天面授
Java就业班
有基础 直达就业
Java夜校直播班
业余时间 高薪转行
Java在职加薪班
工作1~3年,加薪神器
Java架构师班
工作3~5年,晋升架构
提交申请后,顾问老师会电话与您沟通安排学习